НАСОСЫ СЕРИИ ЦНС/ЦНСГ

Blog Sample Image
Особенности конструкции

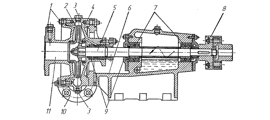
В многоступенчатых насосах этого типа нужный напор и движение жидкостей происходит за счёт использования центробежной силы, которая появляется при вращении лопастей рабочего колеса. Многоступенчатые насосы ЦНС способны перемещать жидкости с практически неограниченным напором, когда вращение передаётся от работающего электродвигателя через специальный соединительный элемент – муфту. Насосы данного вида незаменимы при перекачивании неагрессивных жидкостей (например, подача чистой воды).

Вид в разрезе

Blog Sample Image